덕적도 배시간표
덕적도를 가는 방법은 여러가지가 있습니다. 여러가지가 있기때문에 시간도 각각 다른데 도움이 되시라고 항구마다 스파크 가격표를 설명드리도록 하겠습니다.

먼저 대부도 방아머리 선착장에서 덕적도로가는 배시간표부터 설명해드리도록 하겠습니다.
대부모 방아머리 선착장은 경기 안산시 단원구 대부황금로 1567-3에 위치해있습니다.

덕적도 배시간표입니다.
대부도에서 8시 40분에 출발에서 자월에 9시 35분에 도착을 하고 덕적도에는 10시 20분에 도착합니다. 그리고 소야에서 14시 30분에 출발하고 덕적도에서는 15시에 출발, 15시 45분에 자월 출발 16시 40분 대부 도착입니다. 덕적도 배는 출항시간 10분전까지 매표를 완료하고 승선을 하여야하니 꼭 10분전까지 매료를 하고 승선을 하시기 바랍니다.

참고하시라고 덕적도 요금표도 첨부해드리겠습니다.
덕적도는 일반인 기준 대인 10,700원, 경로, 장애인 8,600원, 소인 5,300원입니다. 도서민일 경우 대인 2,300원, 경로 장애인 1,800원, 도서민 1,200원입니다.

다음은 인천항 국제여객터미널 덕적도 배시간표설명드리겠습니다. 인천항 국제여객터미널은 인천광역시 연수구 국제항만대로326번길 57에 위치해있습니다.

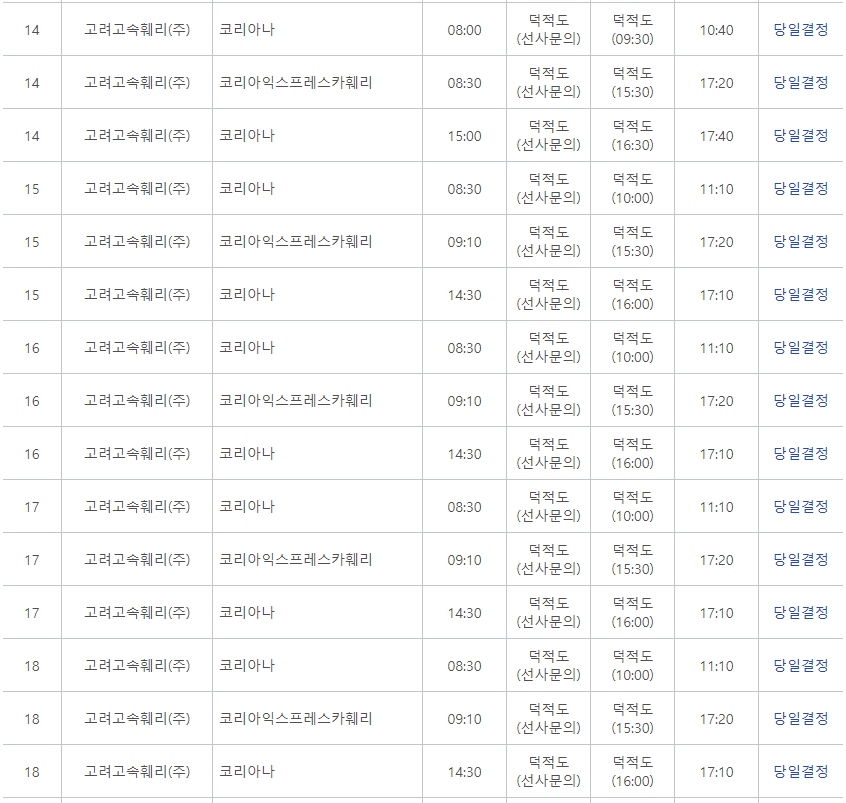
인천항 덕적도 배시간표는 11월만 설명드리겠습니다.
맨 왼쪽끝에 숫자는 일이라고 생각하시면 됩니다. 11월 4일은 8시 30분, 9시 10분, 14시 40분, 11월 5일은 8시 30분, 9시 10분, 14시 30분입니다.

그리고 11월 11일은 8시 30분, 9시 10분, 14시 30분에 인천에서 출발을 합니다.
11월 13일은 8시, 8시 30분, 11시, 15시에 출발을합니다.

그리고 11월 18일은 8시 30분, 9시 10분, 14시 30분에 출발을 합니다.

그리고 11월 22일은 8시 30분, 9시 10분, 14시 30분, 23일은 8시 30분, 9시 10분, 14시 30분에 덕적도로 출발합니다.

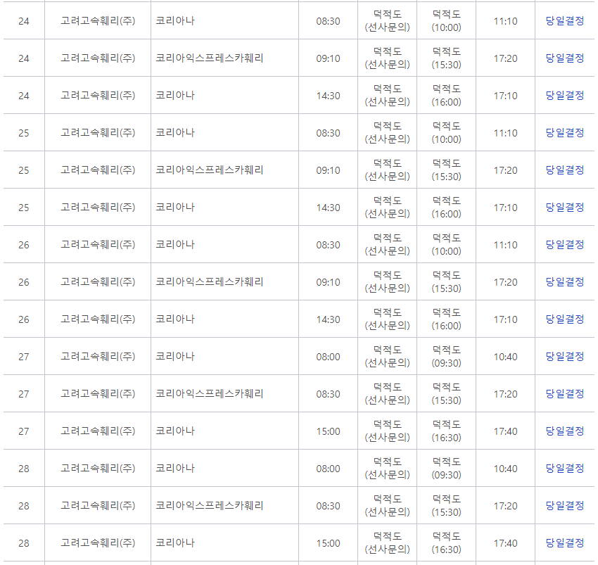
11월 26일은 8시 30분, 9시 10분, 14시 30분, 27일은 8시, 8시 30분, 15시에 출발합니다.

마지막으로 11월 29일은 8시 30분, 9시 10분, 14시 30분, 30일은 8시 30분, 9시 10분, 14시 30분에 덕적도로 출발합니다.
설명드리지 않은날도 많은데 첨부해드린 덕적도 시간표를 통해서 확인하시기 바랍니다. 그럼 덕적도 배시간표 설명 마치겠습니다.
'모든 팁' 카테고리의 다른 글
| 주택연금 가입조건 (0) | 2021.11.04 |
|---|---|
| 타이젬바둑 홈페이지 설치하기 (0) | 2021.11.04 |
| 무한의 계단 pc 다운로드 (0) | 2021.11.04 |
| 전국 아파트 시세조회 (0) | 2021.11.03 |
| 서울 남부터미널 운행 시간표 (0) | 2021.11.03 |
댓글